Startseite » Ersatzteile » Ersatzteile für Tränketechnik » Ersatzteile für Tränke SB 1 – Variante nach Bild‑Nr. wählen
Ersatzteile für Tränke SB 1 – Variante nach Bild‑Nr. wählen
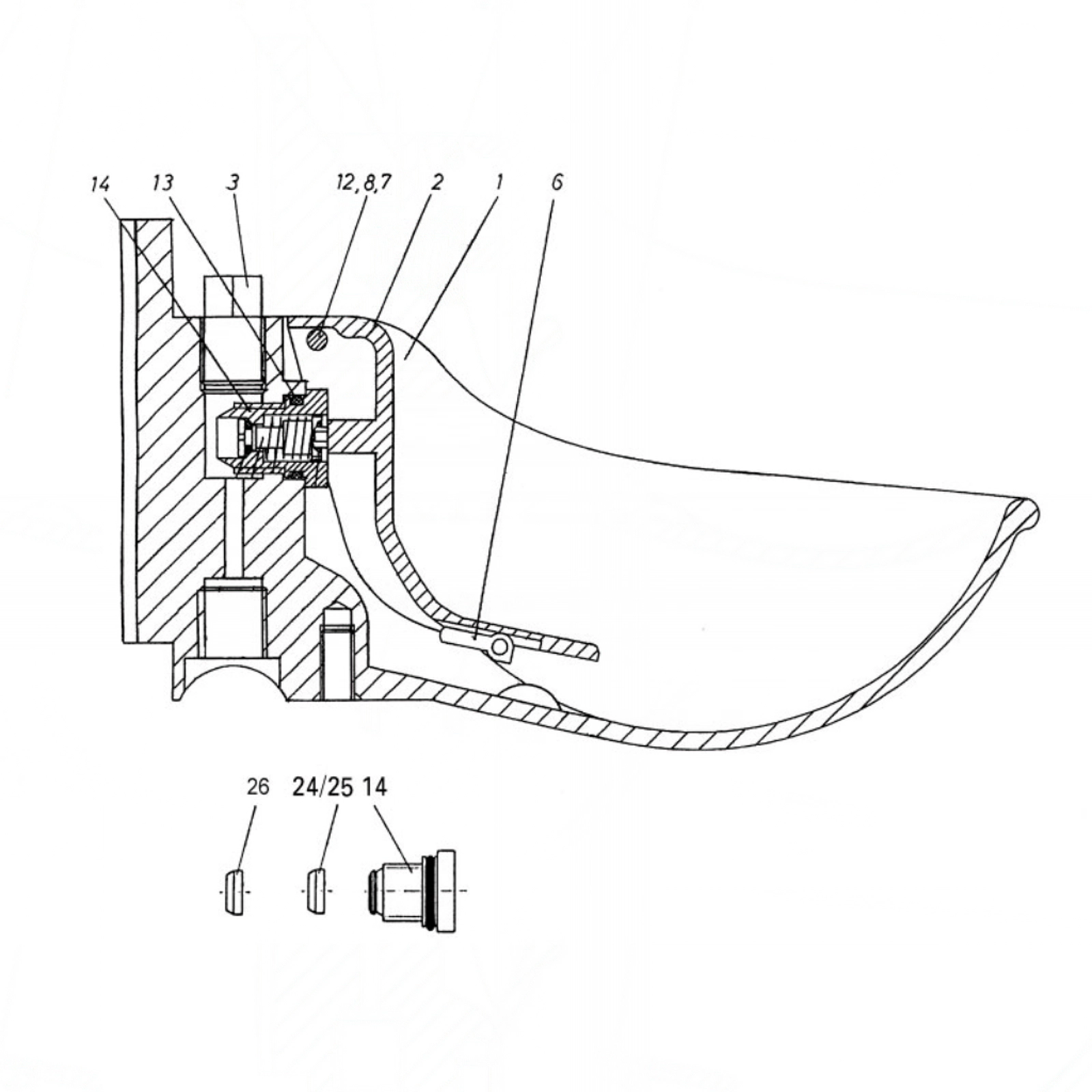
Alle Ersatzteile für die Tränke SB 1 in einem Artikel. Einfach die Bild‑Nummer mit der Variantenbezeichnung abgleichen und das passende Teil auswählen.
0,30 CHF – 36,95 CHF
inkl. MwSt.
zzgl. Versandkosten
In diesem Artikel findest du alle passenden Ersatzteile für die Tränke SB 1 – bequem als Varianten auswählbar. Vergleiche einfach die Bild‑Nummer in der Explosionsdarstellung mit der Variantenbezeichnung und wähle anschließend das benötigte Teil aus.
Lieferumfang
- Je nach Auswahl 1 × das gewählte Ersatzteil für SB 1 inklusive ggf. zugehöriger Kleinteile laut Variantenbezeichnung.
Montage & Anschluss
- Teil gemäß Explosionszeichnung identifizieren und die passende Variante nach Bild‑Nr. auswählen.
- Altteile demontieren; Dicht- und Schraubverbindungen reinigen.
- Neuteil montieren; Schraubverbindungen abdichten; bewegliche Teile prüfen.
- Funktionstest durchführen (Dichtigkeit, Durchfluss, Schwimmerfunktion).
Reinigung & Hygiene
- Regelmäßig Becken und Bauteile mit klarem Wasser spülen; milde Reiniger verwenden.
- Keine scheuernden oder stark alkalischen/sauren Mittel einsetzen.
- Nach Wartungen stets einen Probelauf durchführen und Wasserqualität sicherstellen.
FAQ
Wie finde ich das richtige Ersatzteil?
Vergleiche die Position in der Explosionszeichnung mit der Bild‑Nr. und wähle exakt die gleich lautende Varianten‑Nr. aus.
Passen die Teile zu allen SB 1‑Varianten?
Ja, sofern in der Variantenbezeichnung „für SB 1“ angegeben ist.
Gibt es Normaldruck‑ und Niederdruck‑Ausführungen?
Ja. Es sind Varianten für Normaldruck und Niederdruck verfügbar.
Zusätzliche Informationen
| Kompatibel mit | SB 1, SB 1 N, SB 1 ECO, SB 1 N ECO, SB 1 WN, BACTO PROTECT SB 1 |
|---|
Herstellerinformationen
Lister GmbH
Am Mühlenberg 3
58509 Lüdenscheid
Germany
Email: info@lister.de
Telefon: +49 2351 1060 - 125
Du hast noch keine Produkte angesehen.
